Немає в наявності
0.0 грн.
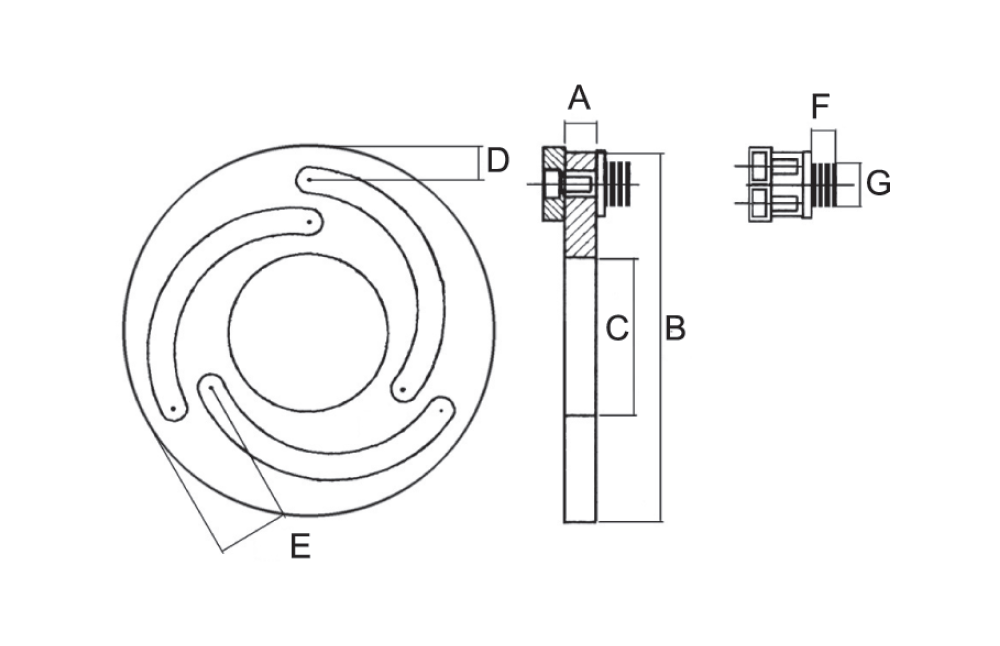
[a] Вимірювання:0,79 дюйма \ 20,0 мм
[b] Розмірність:14,96 в \ 380,0 мм
[c] Розмір:9.06 in \ 230.0 mm
[d] Розмір:0.91 in \ 23.0 mm
[e] Розмір:2.05 in \ 52.0 mm
Доставка
Курʼєром по Київу
Доставимо в день отримання
Новою Поштою у відділення та поштомати
за тарифами перевізника
Оплата
