Вы смотрели
Каталог
Клиенту
Язык:
Валюта:
Тема сайта:
+380 67 192 74 72
Наш адрес
ДП «Абпланалп Украина», ул. Козацкая 120/4, 03022, Киев, Украина
Телефоны:
Время работы
  • Интернет заказы принимаем круглосуточно
  • Отдел продаж
  • ПН – ПТ с 9 до 18
  • СБ-Вс – выходной
E-mail
Мы в соцсетях
Перейти в контакты
0 0
Каталог
Главная
Смотрели
20
Закладки
0
Сравнить
0
Контакты

Universal depth gauge, digital 300mm (0.01mm) with three bridges

Производитель: SARA Модель: 27471
0
Все о товаре
Описание
Характеристики
Отзывы 0
Вопросы0
Universal depth gauge, digital 300mm (0.01mm) with three bridges
Universal depth gauge, digital 300mm (0.01mm) with three bridges
Universal depth gauge, digital 300mm (0.01mm) with three bridges
Universal depth gauge, digital 300mm (0.01mm) with three bridges
Universal depth gauge, digital 300mm (0.01mm) with three bridges
Universal depth gauge, digital 300mm (0.01mm) with three bridges
Universal depth gauge, digital 300mm (0.01mm) with three bridges
Universal depth gauge, digital 300mm (0.01mm) with three bridges
Universal depth gauge, digital 300mm (0.01mm) with three bridges
Universal depth gauge, digital 300mm (0.01mm) with three bridges
Нет в наличии
0.0 грн.
Digit increment:0.01 mm
DIN:Company standard
Error limit:0.04 mm
Included in delivery:Sturdy box
Material property:All parts hardened
Доставка
Курьером по Киеву
Курьером по Киеву Доставим в день получения
Новой почтой в отделения и почтоматы
Новой почтой в отделения и почтоматы
по тарифам перевозчика
Оплата
оплата по счету оплата по счету
Universal depth gauge, digital 300mm (0.01mm) with three bridges
0.0 грн.
Описание
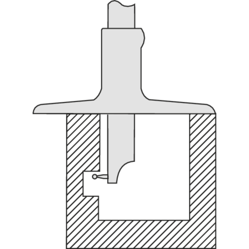
Lightweight digital universal depth gauge
  • Flexible depth gauges for a variety of measurement tasks
  • Replaceable measuring inserts (M 2.5) can also be screwed in at a 90° offset angle
  • With 3 replaceable measuring bridges, 150 / 300 / 450 mm, hard-anodised aluminum
  • Easy to change measuring bridges
  • Internal double V-guide for optimal guide properties and slider movement
  • Supplied with standard measuring head with ball measuring insert, 3 measuring bridges and SR44 battery, No. 500534 0001

Характеристики
Характеристики
Digit increment
0.01 mm
DIN
Company standard
Error limit
0.04 mm
Included in delivery
Sturdy box
Material property
All parts hardened
Max. length measuring range
300 mm
Packaging unit
1
Отзывы

Нет отзывов о данном товаре.

Нет отзывов о данном товаре, станьте первым, оставьте свой отзыв.

Вопросы и ответы
Добавьте вопрос, и мы ответим в ближайшее время.

Нет вопросов о данном товаре, станьте первым и задайте свой вопрос.

Недавно просмотренное
Twist drill STEP DRILL DIN 338 HSS TiN 7.5 mm
Нет в наличии
0
0.0 грн.
Turning insert CCMT 09T304-MP HC7610
Нет в наличии
0
0.0 грн.
Twist drill STEP DRILL DIN 338 HSS TiN 3.5 mm
Нет в наличии
0
0.0 грн.
KPS collet chuck BT 40 - 4/16 - 90 | KPS 16
Нет в наличии
0
0.0 грн.
HSK-T 63 rotating holder PDJNL15
Нет в наличии
0
0.0 грн.
RVR 10,0x72 L032 R=1,50
Нет в наличии
0
0.0 грн.
VHTMMI 4 M160 130 12 40 L800
Нет в наличии
0
0.0 грн.